Ruichen Seals के मूल हाइड्रोलिक सील में मुख्य रूप से कई प्रकार के सील शामिल हैं, जिनमें से प्रत्येक अपने स्वयं के फायदे हैं। ओ-रिंग्स का व्यापक रूप से विभिन्न गतिशील और स्थिर सीलिंग अवसरों में उनकी कम विनिर्माण लागत और सुविधाजनक उपयोग के कारण उपयोग किया जाता है। अधिकांश देशों ने ओ-रिंग्स के लिए उत्पाद मानकों की एक श्रृंखला तैयार की है, जिनमें से अमेरिकी मानक (AS568), जापानी मानक (JISB2401) और अंतर्राष्ट्रीय मानक (ISO 3601/1) अधिक सामान्य हैं। राष्ट्रीय मानक GB3452.1 और GB1235 हैं।
स्टार के आकार की सील की अंगूठी एक एक्स-आकार के आकार के साथ एक चार-लिपल सील है, इसलिए इसे एक्स-आकार की अंगूठी भी कहा जाता है। यह ओ-रिंग पर आधारित एक सुधार और वृद्धि है। इसके क्रॉस-सेक्शनल आयाम 568A मानक के रूप में अमेरिका के ओ-रिंग के समान हैं, और यह मूल रूप से ओ-रिंग के उपयोग को बदल सकता है।
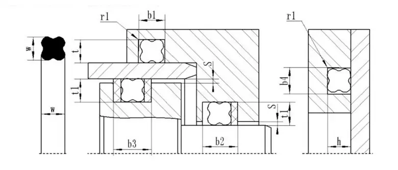
स्टार रिंगों के लाभ
ओ-रिंग्स की तुलना में, स्टार रिंग्स में कम घर्षण प्रतिरोध और कम शुरुआती प्रतिरोध होता है क्योंकि वे सीलिंग होंठों के बीच एक चिकनाई गुहा बनाते हैं। क्योंकि इसका फ्लैश एज क्रॉस सेक्शन के अवतल भाग में स्थित है, सीलिंग प्रभाव बेहतर है। गैर-गोलाकार क्रॉस सेक्शन प्रभावी रूप से पारस्परिक गति के दौरान रोलिंग घटना से बचता है।
स्टार रिंग वर्किंग मैकेनिज्म
स्टार रिंग एक आत्म-कसूरती डबल-एक्टिंग सीलिंग तत्व है। रेडियल और अक्षीय बल सिस्टम के दबाव पर निर्भर करते हैं। जैसे -जैसे दबाव बढ़ता है, स्टार रिंग के संपीड़न विरूपण में वृद्धि होगी, और कुल सीलिंग बल बढ़ेगा, इस प्रकार एक विश्वसनीय सील बन जाएगा।
कैसे एक स्टार के आकार की सील की अंगूठी चुनें
यदि शाफ्ट और छेद का व्यास ज्ञात है, तो निम्न मानदंडों के अनुसार उपयुक्त स्टार के आकार की सील रिंग का चयन करें:
1। स्टेटिक सीलिंग या पारस्परिक रूप से रैखिक गति: (1) होल सीलिंग: स्टार के आकार की रिंग का आंतरिक व्यास नाली के साथ संगत होना चाहिए, या लगभग 2% से कम खांचे के नीचे व्यास। क्योंकि पूर्व-संपीड़न द्वारा उत्पन्न पूर्व-संपीड़न बल प्रभावी रूप से स्टार के आकार की सील की अंगूठी को घुमा और रोलिंग से रोक सकता है। (२) शाफ्ट सीलिंग: स्टार के आकार की रिंग का आंतरिक व्यास शाफ्ट के बाहरी व्यास से लगभग ०.२ ~ ०.३ मिमी के बराबर या उचित रूप से बड़ा होना चाहिए, या यह शाफ्ट के बाहरी व्यास से लगभग १% बड़ा हो सकता है। नतीजतन, सील की अंगूठी को स्थापित करना आसान होगा और एक लंबी सेवा जीवन होगा।
2। रोटरी सीलिंग: स्टार के आकार की अंगूठी का आंतरिक व्यास शाफ्ट सील के व्यास से लगभग 2 ~ 5% बड़ा होना चाहिए। क्योंकि सील की अंगूठी घूर्णन गति में उपयोग किए जाने पर घर्षण और गर्मी उत्पन्न करेगी, और गर्म होने पर रबर सिकुड़ जाएगा (जूल प्रभाव)। इसलिए, यह सुनिश्चित करने के लिए कि सील की अंगूठी को चिकनाई दी जा सकती है और मज़बूती से काम किया जा सकता है, शाफ्ट व्यास से बड़े आंतरिक व्यास के साथ एक स्टार के आकार की अंगूठी का चयन किया जाना चाहिए। आमतौर पर, एक छोटे क्रॉस-सेक्शन के साथ एक सील रिंग स्थैतिक सीलिंग की जरूरतों को पूरा कर सकती है। इसके विपरीत, एक बड़े क्रॉस सेक्शन के साथ एक सील रिंग को डायनेमिक सील को पूरा करने के लिए चुना जाना चाहिए। उच्च दबाव या बड़े अंतराल के मामले में, एक उच्च कठोरता के साथ एक रबर सामग्री का चयन किया जाना चाहिए। सबसे अच्छा तरीका उच्च दबाव एक्सट्रूज़न क्षति को रोकने के लिए एक पीटीएफई रिटेनिंग रिंग जोड़ना है।
लेपित ओ-रिंग व्यवस्थित रूप से टेफ्लॉन के रासायनिक प्रतिरोध के साथ रबर की लोच और सीलिंग को जोड़ती है। यह एक सिलिकॉन या फ्लोरोरुबर इनर कोर और अपेक्षाकृत पतली टेफ्लॉन एफईपी या टेफ्लॉन पीएफए बाहरी कोटिंग से बना है।
सामग्री: टेफ्लॉन एफईपी और टेफ्लॉन पीएफए अनिवार्य रूप से समान हैं, लेकिन टेफ्लॉन पीएफए में टेफ्लॉन एफईपी की तुलना में बेहतर उच्च तापमान प्रतिरोध है। लागू तापमान रेंज टेफ्लॉन एफईपी शेल: -60 ℃ ~ 205 ℃ का उपयोग 260 ℃ पर किया जा सकता है, थोड़े समय के लिए टेफ्लॉन पीएफए शेल: -60 ℃ ~ 260 ℃ का उपयोग थोड़े समय के लाभ के लिए 300 ℃ पर किया जा सकता है:
1। उत्कृष्ट रासायनिक प्रतिरोध, लगभग सभी रासायनिक मीडिया के लिए उपयुक्त
2। चौड़ा तापमान सीमा
3। अच्छा संपीड़न प्रतिरोध
4। एंटी-फ्रिक्शन
5। अच्छा विरोधी विरोधी
6। उच्च दबाव प्रतिरोध
7। उत्कृष्ट सीलिंग स्थायित्व और लंबी सेवा जीवन
अनुप्रयोग: पंप और वाल्व, प्रतिक्रिया जहाज, यांत्रिक सील, फिल्टर, दबाव पोत, हीट एक्सचेंजर्स, बॉयलर, पाइपलाइन फ्लैंग्स, गैस कंप्रेशर्स, आदि।
अनुप्रयोग उद्योग: रासायनिक उद्योग, विमान विनिर्माण, दवा उद्योग, तेल और रासायनिक परिवहन और शोधन, फिल्म उद्योग, प्रशीतन इंजीनियरिंग, खाद्य प्रसंस्करण उद्योग, पेपरमेकिंग उद्योग, डाई निर्माण, पेंट छिड़काव, आदि।
सीलिंग रिंग्स के लिए इंस्टॉलेशन निर्देश
1। जिन हिस्सों में सीलिंग के छल्ले लगाए जाते हैं या गुजरते हैं, उन्हें चिकनी, बूर, खांचे और तेज कोनों से मुक्त होना चाहिए। आंतरिक छेद की खुरदरापन 1.6μ तक पहुंचना चाहिए और शाफ्ट की खुरदरापन 0.8um तक पहुंचना चाहिए।
2। सीलिंग रिंग की सतह और संपर्क में प्रासंगिक भागों को लुब्रिकेट करने के लिए स्वच्छ प्रकाश तेल या ग्रीस लागू करें।
3। यदि शाफ्ट पर सीलिंग रिंग को स्थापित करना मुश्किल है, तो इसे विस्तारित करने के लिए कुछ मिनटों के लिए इसे गर्म पानी में डुबो दें। यह नरम और विस्तारित ओ-रिंग को स्थापित करना आसान है। गर्म होने पर ओ-रिंग स्थापित करें, और इसका आकार ठंडा होने के बाद अपने मूल आकार में वापस आ जाएगा।
4। ओ-रिंग को बहुत हिंसक रूप से नहीं झुकें, अन्यथा यह टेफ्लॉन में झुर्रियों का कारण बनेगा और इसके उपयोग को प्रभावित करेगा।
लेपित ओ-रिंग का अनुशंसित संपीड़न इस प्रकार है:
स्टेटिक सीलिंग स्टेट: 15%-20%
डायनेमिक सीलिंग स्टेट: 10%-12%
वायवीय राज्य: 7%-8%
वास्तविक संपीड़न को काम करने की स्थिति, विशेष रूप से सीलिंग वर्किंग प्रेशर और अन्य कारकों को ध्यान में रखना चाहिए।
उत्पाद सुविधाएँ और अनुप्रयोग:
| ओ-रिंग प्रदर्शन पैरामीटर तालिका |
|
|
|
|
स्थैतिक मुहर | गतिशील मुहर |
| कार्य का दबाव | रिंग को बनाए रखने के बिना, 20mpa अधिकतम रिटेनिंग रिंग के साथ, 40 एमपीए मैक्स, विशेष रिटेनिंग रिंग 200 एमपीए मैक्स | रिंग को बनाए रखने के बिना, 5mpa अधिकतम रिटेनिंग रिंग के साथ, उच्च दबाव |
| रफ़्तार | पारस्परिक 0.5m/s अधिकतम, 2m/s अधिकतम घूर्णन | |
| तापमान | सामान्य उपयोग: -30 ~+110, विशेष रबर: -60 ~+250, घूर्णन: -30 ~+80 | |
| मध्यम | सामग्री अनुभाग देखें | |
| मानक | ओ-रिंग क्रॉस-सेक्शन व्यास डब्ल्यू |
|
|||||
| 568 के रूप में अमेरिकी मानक ब्रिटिश मानक बीएस 1516 | 1.78 | 2.62 | 3.52 | 5.33 | 6.99 | - | |
| जापानी मानक आईटी B2401 | 1.9 | 2.4 | 3.1 | 3.5 | 5.7 | 8.4 | |
| अंतर्राष्ट्रीय मानक आईएसओ 3601/1 जर्मन मानक दीन 3771/1 चीनी मानक सीबी 3452.1 | 1.8 | 2.65 | 3.55 | 5.30 | 7.00 | - | |
| पसंदीदा मीट्रिक आकार | 1.0 | 1.5 | 2.0 | 2.5 | 3.0 | 3.5 | |
| 4.0 | 4.5 | 5.0 | 5.5 | 6.0 | 7.0 | ||
| 8.0 | 10.0 | 12.0 |
|
|
|
||
| 568 के रूप में अमेरिकी मानक (900 श्रृंखला) | 1.02 | 1.42 | 1.63 | 1.83 | 1.98 | 2.08 | |
| 2.21 | 2.46 | 2.95 | 3.00 |
|
|
|
|
| स्टार रिंगों की एप्लिकेशन रेंज बहुत चौड़ी है। तापमान, दबाव और मध्यम के अनुसार सही सामग्री चुनें। किसी दिए गए एप्लिकेशन के लिए स्टार रिंग को अनुकूलित करने के लिए, सभी काम करने वाले मापदंडों के बीच आपसी बाधाओं पर विचार किया जाना चाहिए। एप्लिकेशन रेंज का निर्धारण करते समय, शिखर तापमान, निरंतर काम करने वाले तापमान और ऑपरेटिंग चक्र पर विचार किया जाना चाहिए। घूर्णन अनुप्रयोगों में, घर्षण गर्मी के कारण होने वाले तापमान में वृद्धि पर भी विचार किया जाना चाहिए। | |||||
| तकनीकी मापदंड | गतिशील मुहर | स्थैतिक मुहर |
|
||
| पारस्परिक गति | घूर्णी गति |
|
|||
| कार्य का दबाव (एमपीए) | रिटेनिंग रिंग के साथ | 30 | 15 | 40 |
|
| रिंग को बनाए रखने के बिना | 5 | - | 5 |
|
|
| गति (एम/एस) | 0.5 | 2.0 | - |
|
|
| तापमान (℃) | सामान्य अवसर: -30 ℃ ~+110 ℃ |
|
|||
| विशेष सामग्री: -60 ℃ ~+200 ℃ |
|
||||
| रोटेशन के अवसर: -30 ℃ ~+80 ℃ |
|
||||
स्टार रिंग सामग्री:
सामग्री आम तौर पर शॉ ए 70 नाइट्राइल रबर एनबीआर है।
लेपित ओ-रिंग:
एनकैप्सुलेटेड ओ-रिंग के खांचे का योजनाबद्ध आरेख
एनकैप्सुलेटेड ओ-रिंग (अनुशंसित) के खांचे की आयाम तालिका
| तार व्यास डी | ए (मिमी) | बी (मिमी) | ||
| स्थैतिक मुहर | गतिशील मुहर | वायवीय मुहर | ||
| 1.78 | 2.36/2.49 | 1.42/1.52 | 1.55/1.60 | 1.63/1.65 |
| 2.62 | 3.56/3.68 | 2.08/2.21 | 2.29/2.36 | 2.39/2.44 |
| 3.53 | 4.75/4.88 | 2.82/3.00 | 3.10/3.18 | 3.22/3.28 |
| 5.33 | 7.14/7.26 | 4.27/4.52 | 4.67/4.80 | 4.90/4.95 |
| 6.99 | 9.63/9.65 | 5.59/5.89 | 6.15/6.27 | 6.43/6.48 |
Ruichen सील PTFE सील स्थापना गाइड
Ⅰ। इंस्टालेशन गाइड
1। सील को प्रीलोडेड साइड पर स्थापित किया जाना चाहिए, जिससे दबाव की दिशा का सामना करना पड़ता है।
2। सिलेंडर बॉडी और पिस्टन रॉड को पुश-इन चामर्स के साथ बनाया जाना चाहिए जो हमारी कंपनी के नमूनों की आवश्यकताओं को पूरा करते हैं।
3। तेज किनारों को बूर से मुक्त होना चाहिए और गोल या चंपर किया जाना चाहिए।
4। थ्रेड्स, गाइड रिंग ग्रूव्स आदि को कवर किया जाना चाहिए, क्योंकि सील को खांचे, ड्रिल किए गए छेद या खुरदरी सतहों के माध्यम से धकेल नहीं दिया जा सकता है।
5। किसी भी धूल, मलबे या अन्य विदेशी कणों को सावधानी से हटा दिया जाना चाहिए।
6। तेज किनारों वाले उपकरणों का उपयोग नहीं किया जाना चाहिए।
7। PTFE सीलिंग रिंग गर्म तेल या पानी (लगभग 80 ~ 120 डिग्री) में विस्तार करना आसान है और अपने मूल आकार में बहाल करना आसान है।
8। यदि सील के होंठ को तेल के दबाव के छेद से गुजरने की आवश्यकता होती है, तो एक प्लास्टिक की छड़ी का उपयोग होल के चम्फर को सीलिंग लिप को नुकसान पहुंचाने से रोकने के लिए होंठ को धीरे से धकेलने के लिए किया जाना चाहिए। सिलेंडर के छेदों को चमड़ा दिया जाना चाहिए। (चित्र तीन)
Ⅱ। इंस्टॉलेशन तरीका
खुले (विभाजन) ग्रूव्स को उपकरण के बिना स्थापित किया जा सकता है।
बंद नाली पिस्टन रॉड सील की स्थापना (चित्रा 1)
1। सभी सील सब्सट्रेट, सील और इंस्टॉलेशन टूल को साफ और तेल।
2। रबर की अंगूठी को नाली में रखें (सावधान रहें कि इसे मोड़ें न करें)।
3। पीटीएफई सील रिंग को एक गुर्दे के आकार में एक नुकीले मोड़ के बिना संपीड़ित करें, संपीड़ित पीटीएफई सील की अंगूठी को खांचे में रखें, और धीरे से हाथ से समतल करें।
4। रिकवरी मैंड्रेल को सील में धकेलें और धीरे से मैंड्रेल को चालू करें। इसे 1 मिनट के लिए छोड़ दें और मैंडरेल को हटा दें। स्थापना पूरी हो गई है।
बंद खांचे में पिस्टन सील की स्थापना (चित्रा 2)
1। सभी सील सब्सट्रेट, सील और इंस्टॉलेशन टूल को साफ और तेल।
2। रबर की अंगूठी को नाली में रखें (सावधान रहें कि इसे मोड़ें न करें)।
3। गाइड आस्तीन पर PTFE सीलिंग रिंग को धक्का दें और सीलिंग रिंग को स्ट्रेच करें।
4। पिस्टन ग्रूव में स्ट्रेच्ड सीलिंग रिंग को धक्का दें।
5। सुधार आस्तीन को सीलिंग रिंग में धकेलें और एक ही समय में सुधार आस्तीन को घुमाएं। 1 मिनट के लिए इसे छोड़ने के बाद सुधार आस्तीन निकालें और स्थापना पूरी हो गई है।
नोट: 1। कृपया हमारी कंपनी से परामर्श करें यदि हमारी कंपनी के नमूने में निर्दिष्ट उत्पाद को एक बंद खांचे में स्थापित नहीं किया जा सकता है, लेकिन एक खुले खांचे के लिए उपयुक्त नहीं है।
2। PTFE SEALS की उपरोक्त स्थापना सभी PTFE सील पर लागू नहीं है। यदि आवश्यक हो तो कृपया हमारी कंपनी से परामर्श करें।



























पता
नंबर 1 रुइचेन रोड, डोंगलियुटिंग औद्योगिक पार्क, चेंगयांग जिला, क़िंगदाओ शहर, शेडोंग प्रांत, चीन
टेलीफोन