|
दबाव/एमपीए |
तापमान/डिग्री सेल्सियस |
गति/एम/एस |
मध्यम |
|
≤40 |
-35~+100 (एनबीआर ओ-रिंग के साथ) |
≤2 |
हाइड्रोलिक तेल, इमल्शन, पानी, गैस, आदि। |
|
-20~+200 (एफकेएम ओ-रिंग के साथ) |
1. उपलब्ध ओ-रिंग सामग्री: R01 नाइट्राइल ब्यूटाडीन रबर (NBR), R02 फ्लोरोरबर (FKM), आदि।
2. सीलिंग रिंग सामग्री: मानक सामग्री PTFE3 और PTFE4; अन्य वैकल्पिक सामग्रियों में PTFE1, PTFE2, और PTFE5 शामिल हैं।
आदेश देने का उदाहरण
ऑर्डरिंग मॉडल RC2052—80x91×4.2—PTFE3—R01 मॉडल-dxDxL- सामग्री कोड
ऑर्डरिंग मॉडल RCX17—80x91×4.2—HPU मॉडल-dxDxL- सामग्री कोड
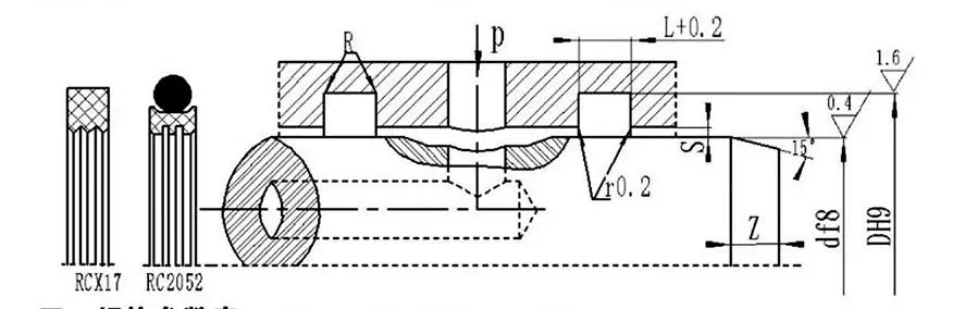
विशिष्टताएँ और पैरामीटर तालिका (पैरामीटर श्रेणी के भीतर कोई भी विशिष्टता उपलब्ध है)
|
दस्ता व्यास सीमा डी एफ8 |
खाई का व्यास DH9 |
खाई की चौड़ाई L+⁰.2 |
रेडियल क्लीयरेंस स्मैक्स |
गोल कोनें आरमैक्स |
नाला जमीन |
|
|
0~10एमपीए |
10~20एमपीए |
|||||
|
6~18 |
डी+49 |
2.2 |
0.15 |
0.1 |
0.4 |
2 |
|
19~37 |
डी+7.5 |
3.2 |
0.2 |
0.15 |
0.6 |
3 |
|
38~199 |
डी+11.0 |
4.2 |
0.25 |
0.2 |
1.0 |
4 |
|
200~255 |
डी+15.5 |
6.3 |
0.3 |
0.25 |
1.3 |
5 |
|
256~649 |
डी+21.0 |
8.1 |
0.3 |
0.25 |
1.8 |
7 |
|
650~1500 |
डी+28.0 |
9.5 |
0.45 |
0.3 |
2.0 |
8 |
नोट: शाफ्ट व्यास ≤ 30 मिमी के लिए, खुले खांचे की सिफारिश की जाती है।
|
d |
D |
L |
d |
D |
L |
d |
D |
L |
d |
D |
L |
|
8 |
12.9 |
2.2 |
48 |
59.0 |
4.2 |
150 |
161.0 |
4.2 |
350 |
371.0 |
8.1 |
|
10 |
14.9 |
2.2 |
50 |
61.0 |
4.2 |
160 |
171.0 |
4.2 |
360 |
381.0 |
8.1 |
|
12 |
16.9 |
2.2 |
55 |
66.0 |
4.2 |
170 |
181.0 |
4.2 |
370 |
391.0 |
8.1 |
|
14 |
18.9 |
2.2 |
60 |
71.0 |
4.2 |
180 |
191.0 |
4.2 |
380 |
401.0 |
8.1 |
|
15 |
19.9 |
2.2 |
63 |
74.0 |
4.2 |
190 |
201.0 |
4.2 |
390 |
411.0 |
8.1 |
|
16 |
20.9 |
2.2 |
65 |
76.0 |
4.2 |
200 |
215.5 |
6.3 |
400 |
421.0 |
8.1 |
|
18 |
22.9 |
2.2 |
70 |
81.0 |
4.2 |
210 |
225.5 |
6.3 |
420 |
441.0 |
8.1 |
|
20 |
27.5 |
3.2 |
75 |
86.0 |
4.2 |
220 |
235.5 |
6.3 |
450 |
471.0 |
8.1 |
|
22 |
29.5 |
3.2 |
80 |
91.0 |
4.2 |
230 |
245.5 |
6.3 |
480 |
501.0 |
8.1 |
|
24 |
31.5 |
3.2 |
85 |
96.0 |
4.2 |
240 |
255.5 |
6.3 |
500 |
521.0 |
8.1 |
|
25 |
32.5 |
3.2 |
90 |
101.0 |
4.2 |
250 |
265.5 |
6.3 |
520 |
541.0 |
8.1 |
|
28 |
35.5 |
3.2 |
95 |
106.0 |
4.2 |
260 |
281.0 |
8.1 |
550 |
571.0 |
8.1 |
|
30 |
37.5 |
3.2 |
100 |
111.0 |
4.2 |
270 |
291.0 |
8.1 |
600 |
621.0 |
8.1 |
|
32 |
39.5 |
3.2 |
105 |
116.0 |
4.2 |
280 |
301.0 |
8.1 |
630 |
651.0 |
8.1 |
|
35 |
42.5 |
3.2 |
110 |
121.0 |
4.2 |
290 |
311.0 |
8.1 |
650 |
678.0 |
8.1 |
|
36 |
43.5 |
3.2 |
115 |
126.0 |
4.2 |
300 |
321.0 |
8.1 |
670 |
698.0 |
9.5 |
|
38 |
49.0 |
4.2 |
120 |
131.0 |
4.2 |
310 |
331.0 |
8.1 |
700 |
728.0 |
9.5 |
|
40 |
51.0 |
4.2 |
125 |
136.0 |
4.2 |
320 |
341.0 |
8.1 |
750 |
778.0 |
9.5 |
|
42 |
53.0 |
4.2 |
130 |
141.0 |
4.2 |
330 |
351.0 |
8.1 |
800 |
828.0 |
9.5 |
|
45 |
56.0 |
4.2 |
140 |
151.0 |
4.2 |
340 |
361.0 |
8.1 |
1000 |
1028.0 |
9.5 |
नोट: आवश्यक विशिष्टताएँ यहाँ सूचीबद्ध नहीं हैं; कृपया हमारी कंपनी से संपर्क करें. हम अधिकतम 2800 मिमी व्यास वाले उत्पाद पेश करते हैं।





सर्वांगीण स्थापना और उपयोग निर्देश
रुई चेन जानते हैं कि सील के पूर्ण प्रदर्शन को सुनिश्चित करने के लिए सही स्थापना पहली शर्त है, हम आपको प्रत्येक उत्पाद, विशेष रूप से जटिल या गैर-मानक कस्टम भागों के उपयोग पर व्यापक मार्गदर्शन भी देंगे, विस्तृत ग्राफिक इंस्टॉलेशन गाइड होगा।
इन गाइडों के साथ उच्च-परिभाषा चरण-दर-चरण आरेख और पाठ निर्देश होते हैं जो स्पष्ट रूप से स्थापना से पहले निरीक्षण बिंदु, सही स्थापना चरण, आवश्यक उपकरण और गलत संचालन से बचते हैं, जैसे कि हमारे इंजीनियर साइट पर थे। इसके अलावा, जटिल असेंबली या सिस्टम के लिए, हम पेशेवर वीडियो ट्यूटोरियल बनाते हैं जो आपके ऑपरेटरों को गतिशील प्रदर्शनों के माध्यम से इंस्टॉलेशन तकनीकों और सावधानियों को सहजता से और जल्दी से मास्टर करने की अनुमति देते हैं, जिससे अनुचित इंस्टॉलेशन के कारण प्रारंभिक विफलता का जोखिम काफी कम हो जाता है।
पता
नंबर 1 रुइचेन रोड, डोंगलियुटिंग औद्योगिक पार्क, चेंगयांग जिला, क़िंगदाओ शहर, शेडोंग प्रांत, चीन
टेलीफोन