|
दबाव/एमपीए |
तापमान/डिग्री सेल्सियस |
गति/एम/एस |
मध्यम |
|
≤40 |
-35~+100 (मिलान एनबीआर ओ-रिंग्स के साथ) |
≤2 |
हाइड्रोलिक तेल, इमल्शन, पानी, गैस, आदि। |
-20~+200 (मिलान ओ-रिंग्स एफकेएम के साथ) |
1. उपयुक्त ओ-रिंग सामग्री में शामिल हैं: R01 नाइट्राइल ब्यूटाडीन रबर (NBR), R02 फ्लोरोरबर (FKM), आदि।
2. सीलिंग रिंग सामग्री: मानक सामग्री PTFE3 और PTFE4; अन्य वैकल्पिक सामग्रियों में PTFE1, PTFE2, और PTFE5 शामिल हैं।
रुइचेन ने उत्पादों की पूरी श्रृंखला के नियंत्रण का एहसास करते हुए, कच्चे माल की शुरुआत से स्वतंत्र अनुसंधान और विकास और उत्पादन किया है।
1. इंजीनियरिंग प्लास्टिक और मिश्रित सामग्री: हम मिश्रण, सिंटरिंग से लेकर मोल्डिंग तक, सभी प्रकार की भरी हुई संशोधित मिश्रित सामग्री ट्यूब और रॉड के स्वतंत्र उत्पादन और फिर सील में सटीक प्रसंस्करण के लिए पॉलीटेट्राफ्लुओरोएथिलीन (पीटीएफई) को कोर के रूप में लेते हैं। यह भौतिक गुणों की स्थिरता और अनुकूलन सुनिश्चित करता है।
2. उच्च प्रदर्शन पॉलीयूरेथेन इलास्टोमेर: हम प्रीपोलिमर कास्टिंग से शुरू करते हैं, स्वतंत्र रूप से उच्च गुणवत्ता वाले पॉलीयूरेथेन पाइप और रॉड सामग्री का उत्पादन करते हैं, और उन्हें विभिन्न प्रकार की सील में संसाधित करते हैं, जो पहनने के प्रतिरोध, दबाव प्रतिरोध और हाइड्रोलिसिस प्रतिरोध में उत्कृष्ट हैं।
आदेश देने का उदाहरण
ऑर्डरिंग मॉडल RC2054—80×69×4.2—PTFE3—R01 मॉडल-D*d*L- सामग्री कोड ऑर्डरिंग मॉडल RCX18—80×69x4.2—HPU मॉडल-D*d*L- सामग्री कोड
विशिष्टताएँ और पैरामीटर तालिका (पैरामीटर श्रेणी के भीतर कोई भी विशिष्टता उपलब्ध है)
|
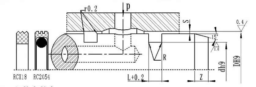
एपर्चर रेंज DH9 |
खाई का व्यास dh9 |
खाई की चौड़ाई L+0.2 |
रेडियल क्लीयरेंस स्मैक्स |
गोल कोनें आरमैक्स |
नाला जमीन |
|
|
0~10एमपीए |
10~20एमपीए |
|||||
|
8~39 |
डी-4.9 |
2.2 |
0.15 |
0.1 |
0.4 |
2 |
|
40~79 |
डी-7.5 |
3.2 |
0.2 |
0.15 |
0.6 |
3 |
|
80~132 |
डी-11.0 |
4.2 |
0.25 |
0.2 |
1.0 |
4 |
|
133~329 |
डी-15.5 |
6.3 |
0.3 |
0.25 |
1.3 |
5 |
|
330~669 |
डी-21.0 |
8.1 |
0.3 |
0.25 |
1.8 |
7 |
|
670~1500 |
डी-28.0 |
9.5 |
0.45 |
0.3 |
2.0 |
8 |
|
D |
d |
L |
D |
d |
L |
D |
d |
L |
D |
d |
L |
|
8 |
3.1 |
2.2 |
50 |
42.5 |
3.2 |
170 |
154.5 |
6.3 |
380 |
359.0 |
8.1 |
|
10 |
5.1 |
2.2 |
55 |
47.5 |
3.2 |
180 |
164.5 |
6.3 |
390 |
369.0 |
8.1 |
|
12 |
7.1 |
2.2 |
60 |
52.5 |
3.2 |
190 |
174.5 |
6.3 |
400 |
379.0 |
8.1 |
|
14 |
9.1 |
2.2 |
63 |
55.5 |
3.2 |
200 |
184.5 |
6.3 |
420 |
399.0 |
8.1 |
|
15 |
10.1 |
2.2 |
65 |
57.5 |
3.2 |
210 |
194.5 |
6.3 |
450 |
429.0 |
8.1 |
|
16 |
11.1 |
2.2 |
70 |
62.5 |
3.2 |
220 |
204.5 |
6.3 |
480 |
459.0 |
8.1 |
|
18 |
13.1 |
2.2 |
75 |
67.5 |
3.2 |
230 |
214.5 |
6.3 |
500 |
479.0 |
8.1 |
|
20 |
15.1 |
2.2 |
80 |
69.0 |
4.2 |
240 |
224.5 |
6.3 |
520 |
499.0 |
8.1 |
|
22 |
17.1 |
2.2 |
85 |
74.0 |
4.2 |
250 |
234.5 |
6.3 |
550 |
529.0 |
8.1 |
|
24 |
19.1 |
2.2 |
90 |
79.0 |
4.2 |
260 |
244.5 |
6.3 |
600 |
579.0 |
8.1 |
|
25 |
20.1 |
2.2 |
95 |
84.0 |
4.2 |
270 |
254.5 |
6.3 |
630 |
609.0 |
8.1 |
|
28 |
23.1 |
2.2 |
100 |
89.0 |
4.2 |
280 |
264.5 |
6.3 |
650 |
629.0 |
8.1 |
|
30 |
25.1 |
2.2 |
105 |
94.0 |
4.2 |
290 |
274.5 |
6.3 |
670 |
642.0 |
9.5 |
|
32 |
27.1 |
2.2 |
110 |
99.0 |
4.2 |
300 |
284.5 |
6.3 |
700 |
672.0 |
9.5 |
|
35 |
30.1 |
2.2 |
115 |
104.0 |
4.2 |
310 |
294.5 |
6.3 |
750 |
722.0 |
9.5 |
|
36 |
31.1 |
2.2 |
120 |
109.0 |
4.2 |
320 |
304.5 |
6.3 |
800 |
772.0 |
9.5 |
|
38 |
33.1 |
2.2 |
125 |
114.0 |
4.2 |
330 |
309.0 |
8.1 |
1000 |
972.0 |
9.5 |
|
40 |
32.5 |
3.2 |
130 |
119.0 |
4.2 |
340 |
319.0 |
8.1 |
|
|
|
|
42 |
34.5 |
3.2 |
140 |
124.5 |
6.3 |
350 |
329.0 |
8.1 |
|
|
|
|
45 |
37.5 |
3.2 |
150 |
134.5 |
6.3 |
360 |
339.0 |
8.1 |
|
|
|
|
48 |
40.5 |
3.2 |
160 |
144.5 |
6.3 |
370 |
349.0 |
8.1 |
|
|
|
नोट: आवश्यक विशिष्टताएँ यहाँ सूचीबद्ध नहीं हैं; कृपया हमारी कंपनी से संपर्क करें. हम अधिकतम 2800 मिमी व्यास वाले उत्पाद पेश करते हैं।



पता
नंबर 1 रुइचेन रोड, डोंगलियुटिंग औद्योगिक पार्क, चेंगयांग जिला, क़िंगदाओ शहर, शेडोंग प्रांत, चीन
टेलीफोन