क़िंगदाओ रुइचेन सीलिंग टेक्नोलॉजी कंपनी लिमिटेड
क़िंगदाओ रुइचेन सीलिंग टेक्नोलॉजी कंपनी लिमिटेड
उत्पादों
X

टीसी तेल सील

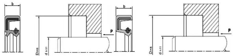
रोटरी शाफ्ट लिप सील, जिसे आमतौर पर तेल सील के रूप में जाना जाता है, असर आवास में स्थापित की जाती है और घूर्णन शाफ्ट के सापेक्ष चलती है। एक धातु कंकाल समर्थन प्रदान करता है, और एक स्प्रिंग स्नेहक रिसाव और बाहरी दूषित पदार्थों की घुसपैठ को रोकने के लिए सीलिंग लिप पर रेडियल प्रीलोड लागू करता है।

स्थापना संरचना और आवश्यकताएँ

1. शाफ्ट सामग्री: आमतौर पर कार्बन स्टील और स्टेनलेस स्टील का उपयोग किया जाता है। उच्च गति के लिए, सतह पर क्रोम प्लेटिंग लगाई जाती है, HRC40-45।

2. घूमने वाले शाफ्ट और ग्रूव्स का डिज़ाइन: शाफ्ट की सतह चिकनी और गड़गड़ाहट रहित होनी चाहिए। सर्पिल मशीनिंग के निशान पंपिंग प्रभाव पैदा कर सकते हैं, जिससे रिसाव हो सकता है। यह अनुशंसा की जाती है कि तेल सील माउंटिंग क्षेत्र को Ra0.1-0.5μm की सतह खुरदरापन पर पीस दिया जाए, जो बढ़ती गति के साथ चिकना हो जाए। स्थापना और जुदा करने में आसानी के लिए, शाफ्ट और खांचे को चैंफ़र या गोल किनारों के साथ डिज़ाइन किया जाना चाहिए चित्र 1 और 2 देखें।

सीलिंग ऊंचाई

b

b1(0.85xb)

मिमी

बी2(बी+0.3)

मिमी

r

अधिकतम.

7

5.95

7.3

0.5

8

6.80

8.3

0.5

10

8.50

10.3

0.5

12

10.30

12.3

0.7

15

12.75

15.3

0.7

20

17.00

20.3

0.7

चित्र 1. नाली कक्ष डिज़ाइन


d

d3

R

<10

डी-1.5

2

10~20

डी-2.0

2

20~30

डी-2.5

3

30~40

डी-3.0

3

40~50

डी-3.5

4

50~70

डी-4.0

4

70~95

डी-4.5

5

95~130

डी-5.5

6

130~240

डी-7.0

8

240~500

डी-11.0

12

500~800

डी-14.0

14

800~1250

डी-18.0

16

चित्र 2 घूमने वाले शाफ्ट का चम्फर डिज़ाइन


रोटरी शाफ्ट लिप सील के प्रदर्शन को प्रभावित करने वाले कारक 

ऐसे दर्जनों कारक हैं जो सीलिंग प्रभाव को प्रभावित करते हैं। तेल सील के अलावा, जैसे इसकी सामग्री और संरचना, माध्यम, तापमान, दबाव, स्नेहन, गति और सतह खुरदरापन जैसे अन्य कारक भी सीधे सीलिंग प्रभाव को प्रभावित करते हैं, और ये कारक अक्सर एक दूसरे के साथ बातचीत करते हैं। निम्नलिखित चार्ट केवल उपयोगकर्ता संदर्भ के लिए हैं।

चित्र 3. तेल सील पर तापमान का प्रभाव


स्थापना: तेल सील के समुचित कार्य के लिए सावधानीपूर्वक स्थापना एक शर्त है।

स्थापना आरेख (गुहा स्थापना)

सही स्थापना विधि

लागू कार्य परिस्थितियाँ

गलत स्थापना विधि

यह विधि केवल तभी लागू होती है जब तेल सील का अंतिम भाग और गुहा का अंतिम भाग फ्लश हो। जब दबाने वाले उपकरण तेजी से संचालित होते हैं, तो तेल सील सही ढंग से स्थित होनी चाहिए; अन्यथा, ग़लत संरेखण हो सकता है।

 

यह डिज़ाइन उन स्थितियों के लिए उपयुक्त है जहां तेल सील का अंतिम भाग गुहा के अंतिम भाग से नीचे होता है। तेजी से दबाने पर भी, तेल सील अभी भी अच्छी तरह से स्थित हो सकती है। हालाँकि, इस प्रकार की स्थिरता में रेडियल स्थिति का अभाव होता है, इसलिए दबाने वाले उपकरण की फ्लैट प्लेट और दबाव शाफ्ट की अक्षीय लंबवतता को एक निश्चित सटीकता प्राप्त करनी चाहिए।

यह विधि उन स्थितियों के लिए उपयुक्त है जहां तेल सील का अंतिम भाग गुहा के अंतिम भाग से नीचे होता है। उपकरण में तेजी से दबाते समय, यह सुनिश्चित करना महत्वपूर्ण है कि तेल सील सही ढंग से स्थित है; अन्यथा, ग़लत संरेखण हो सकता है।


 

 


यह विधि केवल रखरखाव या सरल स्थापना स्थितियों के लिए उपयुक्त है जहां दबाव उपकरण उपलब्ध नहीं है। चूँकि इंस्टालेशन के दौरान बिल्कुल एकसमान दबाव प्राप्त नहीं किया जा सकता, इसलिए विभिन्न इंस्टालेशन समस्याएँ अपरिहार्य हैं। इसे मुख्य रूप से स्थापना के दौरान रेडियल मिसलिग्न्मेंट को रोकने के लिए डिज़ाइन किया गया है, जो तेल सील को ख़राब कर सकता है, या स्थापना के दौरान रुकावटों के कारण तेल सील संभोग भाग (बाहरी सर्कल) के रबर को नुकसान को रोकने के लिए डिज़ाइन किया गया है। इसलिए, यह स्थापना विधि आमतौर पर अनुशंसित नहीं है.

 

टीसी/एससी/टीबी/एसबी तेल सील

दोनों में एक धातु फ्रेम, एक स्प्रिंग और एक रबर बॉडी शामिल है। धातु फ्रेम समर्थन प्रदान करता है, और स्प्रिंग सीलिंग लिप पर रेडियल बल लागू करता है। टीसी और टीबी दोनों मॉडलों में एक डस्टप्रूफ सहायक लिप होता है, जो उन अनुप्रयोगों के लिए उपयुक्त होता है जहां एक तरफ सीलिंग माध्यम होता है और दूसरी तरफ धूल होती है। टीबी/एसबी मॉडल में एक धातु का बाहरी घेरा होता है, जो गुहा के भीतर तेल सील को अधिक सुरक्षित और सटीक बनाता है। हालाँकि, बाहरी सर्कल की सीलिंग क्षमता कम-चिपचिपापन और गैसीय मीडिया के लिए सीमित है; इसलिए, स्थापना और उपयोग के दौरान बाहरी सर्कल पर सीलेंट लगाने की सिफारिश की जाती है।

क्रॉस-अनुभागीय आकार

नमूना

आवेदन

दबाव

तापमान

रफ़्तार

मध्यम

सामग्री

टीसी

सीलिंग, डस्टप्रूफ

0.03MPa

-30~+160

20 मी/से

चिकनाई वाला तेल और ग्रीज़

एनबीआर/एफकेएम + कार्बन स्टील

अनुसूचित जाति

सील

टीबी

सीलिंग, डस्टप्रूफ

-30~+100

25 मी/से

पानी, चिकनाई वाला तेल, ग्रीज़

एनबीआर + कार्बन स्टील

एसबी

सील

ऑर्डर मॉडल TC-d*D*b

विनिर्देश

विनिर्देश

विनिर्देश

विनिर्देश

विनिर्देश

विनिर्देश

विनिर्देश

टीसी-6*17*3.5

टीसी-9*25*7

टीसी-10*30*7

टीसी-12*25*10

टीसी-13*25*7

टीसी-14*32*8

टीसी-15*30*7

टीसी-7*18*7

टीसी-10*18*7

टीसी-11*22*7

टीसी-12*26*7

टीसी-13*26*7

टीसी-14*32*10

टीसी-15*30*8

टीसी-8*18*7

टीसी-10*19*7

टीसी-I1*25*7

टीसी-12*28*7

टीसी-13*28*7

टीसी-14*35*7

टीसी-15*30*10

टीसी-8*20*7

टीसी-10*20*5

टीसी-11*30*10

टीसी-12*28*8

टीसी-13*30*8

टीसी-14*35*8

टीसी-15*32*7

टीसी-8*22*7

टीसी-10*20*7

टीसी-12*19*3

टीसी-12*30*7

टीसी-14*24*7

टीसी-14*40*7

टीसी-15*32*10

टीसी-8*22*8

टीसी-10*22*5

टीसी-12*20*7

टीसी-12*30*10

टीसी-14*25*7

टीसी-15*22*8

टीसी-15*35*7

टीसी-8*25*7

टीसी-10*22*7

टीसी-12*21*7

टीसी-12*32*7

टीसी-14*26*7

टीसी-15*24*7

टीसी-15*35*8

टीसी-8*25*8

टीसी-10*22*8

टीसी-12*22*5

टीसी-12*32*10

टीसी-14*27*7

टीसी-15*25*5

टीसी-15*35*10

टीसी-8*30*7

टीसी-10*22*10

टीसी-12*22.5*5.5

टीसी-12*35*7

टीसी-14*28*7

टीसी-15*25*7

टीसी-15*38*7

टीसी-9*16*5

टीसी-10*24*7

टीसी-12*22*7

टीसी-12*35*10

टीसी-14*28*8

टीसी-15*25*8

टीसी-15*38*8

टीसी-9*18*7

टीसी-10*25*5

टीसी-12*22*8

टीसी-12.7*22.22*5

टीसी-14*28*10

टीसी-15*26*7

टीसी-15*38*10

टीसी-9*19*7

टीसी-10*25*7

टीसी-12*24*6

टीसी-12.7*25.4*7

टीसी-14*29*7

टीसी-15*27*7

टीसी-15*40*8

टीसी-9*20*7

टीसी-10*25*10

टीसी-12*24*7

टीसी-12.7*26*8

टीसी-14*30*7

टीसी-15*27*8

टीसी-15*40*10

टीसी-9*22*7

टीसी-10*26*7

टीसी-12*25*7

टीसी-12.7*30*8

टीसी-14*30*10

टीसी-15*28*7

टीसी-15*42*7

टीसी-9*24*7

टीसी-10*28*7

टीसी-12*25*8

टीसी-13*23*7

टीसी-14*32*7

टीसी-15*28*10

टीसी-15*42*8

 




हॉट टैग: टीसी तेल सील
जांच भेजें
संपर्क सूचना
  • पता

    नंबर 1 रुइचेन रोड, डोंगलियुटिंग औद्योगिक पार्क, चेंगयांग जिला, क़िंगदाओ शहर, शेडोंग प्रांत, चीन

  • टेलीफोन

    +86-532-82809839

प्रतिस्पर्धी कीमतें, तकनीकी सहायता और तेजी से प्रतिक्रियाएं प्राप्त करें। सिलवाया सीलिंग सॉल्यूशंस के लिए Ruichen को अपने विनिर्देश भेजें। मुफ्त नमूने उपलब्ध हैं।
X
हम आपको बेहतर ब्राउज़िंग अनुभव प्रदान करने, साइट ट्रैफ़िक का विश्लेषण करने और सामग्री को वैयक्तिकृत करने के लिए कुकीज़ का उपयोग करते हैं। इस साइट का उपयोग करके, आप कुकीज़ के हमारे उपयोग से सहमत हैं। गोपनीयता नीति
अस्वीकार करना स्वीकार करना